Selecione o local de entrega

A seleção do país/região pode influenciar vários fatores, tais como preço, opções de envio e disponibilidade de produtos.
Contacto direto
igus® Lda.

R Engº Ezequiel Campos, 239

4100-232 Porto

226 109 000*
PT(PT)

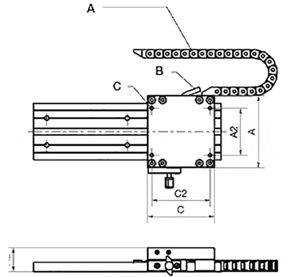
drylin® WKMEX-10-80: sistema de medição pronto a instalar

A = Calha articulada 045.10.028.0, não faz parte do artigo
B = Cabos de sinal
C = K2
O sistema de medição drylin® WKMEX ocupa muito pouco espaço de instalação. A cabeça do sensor está integrada na carruagem com apenas 36 mm de altura. Existem três opções de sensor, duas das quais são compatíveis com drivers de linha TTL. Recomenda-se uma calha articulada 045.10.028.0 da igus® para o guiamento do cabo de sinal. Para obter as referências de comprimentos específicos, ver:
Sistema E2 micro
Sistema easy chain®

Sistema pronto a instalar para saída exterior de dados

Com disparo por 4 extremidades (parâmetros de configuração do ecrã ou sistema de comando, por exemplo, IW4) e temperatura ambiente de +20 °C: resolução: ±(0,025 + 0,02 · L) L = comprimento de medição em metros; repetibilidade: ±0,025 mm

Com disparo por 1 extremidades (parâmetros de configuração do ecrã ou sistema de comando, por exemplo, IW1) e temperatura ambiente de +20 °C: resolução: ±(0,1 + 0,02 · L) L = comprimento de medição em metros; repetibilidade: ±0,025 mm

Pequeno sensor com sistema de avaliação integrada

Sinais de saída: modo diferencial à prova de curto-circuito permanente com sinais invertidos (A, A/, B, B/, Z, Z/)

Gama de dispositivos de medição

Todos os tipos A A2 C C2 H2 K2 Resolução    
  [mm] [mm] [mm] [mm] [mm] [mm] [mm]    
Saída a partir de 10 dias úteis. Envio Standard: +4/5 dias. Urgente: +1/2 dias WKMEX-10-80-2.5-00-01 107 70 100 87 36 M6 0,1 Sob consulta Adicionar ao carrinho de compras
Saída a partir de 10 dias úteis. Envio Standard: +4/5 dias. Urgente: +1/2 dias WKMEX-10-80-2.5-01-01 107 70 100 87 36 M6 0,1 Sob consulta Adicionar ao carrinho de compras
Saída a partir de 10 dias úteis. Envio Standard: +4/5 dias. Urgente: +1/2 dias WKMEX-10-80-2.5-11-01 107 70 100 87 36 M6 0,1 Sob consulta Adicionar ao carrinho de compras
Mais sobre a peça selecionada:
3D-CAD 3D-CAD
Pedir amostra Pedir amostra
PDF PDF
Solicitação de cotação Solicitação de cotação
myCatalog myCatalog
  Tipo de sensor Tensão nominal Potência de saída Comprimento máx. do cabo de sinal
  00 10 - 30 V 10 - 30 V 30 m
  01 10 - 30 V 5 V (driver de linha TTL) 50 m
  11 5 V 5 V (driver de linha TTL) 10 m
Especificações
Princípio de medição Incremental
Precisão de repetição ± 1 incremento
Divisão de polos 5 mm
Alojamento do sensor Zinco fundido
Classe de proteção IP67
Temperatura de funcionamento -10 … +70° C
Humidade máx. 95%, sem condensação
Velocidade máx. 4,0 m/s
Alimentação elétrica V DC 5 V DC ou 10 a 30 V DC
Consumo de corrente 5 V DC: no máx. 200 mA
10 a 30 V DC: no máx. 150 mA
Eletrónica de avaliação interior Eletrónica de avaliação interior
Potência de saída 5 V - driver de linha TTL ou 10 a 30 V - HTL
Faixas de partida A, A‘, B, B‘, Z, Z‘
Comprimento máx. do cabo Comprimento máx. do cabo de 5 V/5 V-TTL = 10 m
10-30 V/10-30 V = 30 m
10-30 V/5 V-TTL = 50 m

Distância máx. admissível da banda magnética 2,0 mm
Método de ligação Ponteiras cortadas

Mais informações:


Saída a partir de 10 dias úteis. Envio Standard: +4/5 dias. Urgente: +1/2 dias

Aconselhamento personalizado

Terei todo o gosto em esclarecer as suas questões

Envio e consulta

Pessoalmente:

De segunda a sexta-feira, das 9h às 18h - via telefone ou chat

Online:

24h