Alterar idioma :
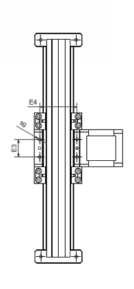
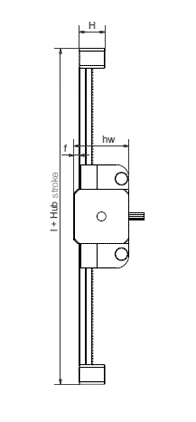
O eixo cantilever drylin foi especialmente desenvolvido para aplicações pick & place com elevada dinâmica e pequenas cargas. Com este tipo de eixo, o carro e o motor são fixos enquanto o eixo se move. Uma transmissão de potência direta e dinâmica (aprox. 20-30% mais potência / velocidade) ocorre através da cremalheira de plástico sem a deflexão e pré-tensão de uma correia dentada. O eixo pode, portanto, ser operado com um motor pequeno com cargas baixas de até aprox. 1kg.
Áreas de aplicação: pick & Place, pórticos, montagem, tecnologia médica, pórticos de 2 ou 3 eixos.


Product manager dry-tech
Escrever e-mailPessoalmente:
De segunda a sexta-feira, das 9h às 18h - via telefone ou chat
Online:
24h