igus-icon-lupe
igus-icon-lupe
1 de 2
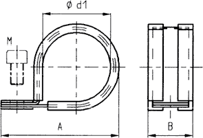
- Aço galvanizado de acordo com a norma DIN 3016
- Perfil de elastómero isento de halogéneos
- Gama de temperatura: -50 °C a +105 °C
igus-icon-lieferzeit-dotI-SGB-07
7
Estas abraçadeiras de fixação são utilizadas para a montagem e instalação limpa de tubos de proteção PMA em máquinas em geral e na construção de máquinas. São particularmente adequadas para a montagem de cabos estáticos.
.jpg)